Today, Dell and Alienware released the Alienware 13, what they’re calling the world’s first 13.3-inch VR-capable Notebook. In its base (standard) form,...
Google’s release of the Pixel is only part of the equation. Next week, the search giant will release the Daydream View, a...
To celebrate the home video release of Star Trek Beyond, we have a giveaway for you! Star Trek Beyond marks the third...
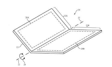
Apple received a patent this week that describes a bendable or flexible smartphone that uses carbon nanotube printed circuits. The company originally...
Apple Music could be about to get considerably cheaper. According to a pair of sources who have “worked closely” with the service...
Thanks to Minecraft, every developer has tried to cram a construction element into their video game over the last half decade. From...
Any app store is prone to fraudulent material, whether it’s spam-filled apps that somehow sneak through the system or fake reviews and...
Filmmaking is not necessarily rocket science, but it is a craft you need to slowly master. It takes a lot of practice,...
I thought we had seen all of Final Fantasy XV at this point. After all, the game went gold last week, and...
The hardest working man in show business also has the best celebrity Instagram. It doesn’t exist to peddle herbal advertisements or humblebrag...